一、概述:
SPG-12/24/40.5型戶外柱上安裝的負荷開關適合用于額定電壓12/24/40.5kV,額定電流630A、50/60Hz配電網開斷、關合電力系統中的負荷電流、過載電流,能夠自動將發生故障的配電線路區段隔離開。開關帶有新技術的電子控制器,可以手動操作、電動操作和遠距離操作。電子控制器裝在不銹鋼箱體內,能夠適合各種氣候條件下使用。此外,箱體內還可安裝了有線和無線調制解調器,可以實現遠距離監視和控制。簡單的柱上安裝布置方便、快速,降低施工成本。
二、使用條件
標準使用條件:
此SF6氣體負荷開關適應運行條件:
2.1環境溫度
2.1.1周圍空氣溫度:上限+50℃,下限-40℃。
2.1.2相對濕度:100%
2..2海拔不超過3000m。
2.3風壓不超過700pa(相當于風速34m/s)。
2.4地震烈度:8度。
2.5安裝場所:沒有火災、爆炸危險,無化學腐蝕及經常性劇烈震動。
2.6污穢等級:Ⅲ類、Ⅳ類。
三、產品特點
特征:
3.1SF6氣體絕緣
SF6氣體是無毒、不可燃的電絕緣氣體,具有較好的滅弧特性。
3.2套管多樣性
除了標準陶瓷套管外,還可以提供多種方案,包括在環氧設備套管上的橡膠絕緣子。
3.3可見的斷開/閉合狀態
站在地上很容易看清用顏色標記的主觸點位置指示器(綠 – 斷開;紅 – 閉合)。該指示器與主觸點驅動軸總成直接連接,確保準確顯示觸點狀態。
3.4快速操作
采用彈簧儲能的操作機構確保快速合閘與分閘操作(少于100毫秒)。
3.5可以實現遙控
備有電子控制器,既可就地操作,也可用FTU界面實現主控臺操作。
3.6堅固耐用的開關
開關采用經過驗證的堅固耐用、抗腐蝕的材料(軍艦專用304L不銹鋼鋼板)做成,確保有很長的使用壽命(30年),并能實施一系列操作,具有柱上設備理想的特性。
3.7標準
每一開關出廠前已經充裝好SF6氣體,密封處理,并按IEC60265-1(1988)、GB3804-1990標準進行試驗。
四、產品參數
| 序號 | 名 稱 | 單位 | 數 據 | ||||
| 1 | 額定電壓 | kV | 12 | 24 | 40.5 | ||
| 2 | 額定頻率 | Hz | 50/60 | 50/60 | 50/60 | ||
| 3 | 額定絕緣水平 | 雷電沖擊耐壓 | 相間,相對地 | kV | 75 | 125 | 185 |
| (所充SF6氣體0.07Mpa | 斷口 | 85 | 145 | 215 | |||
| / 20℃時) | 工頻耐壓 | 相間,相對地 | kV | 42 | 64 | 95 | |
| 1min | 斷口 | 50 | 79 | 110 | |||
| 4 | 零表壓下的絕緣水平 | 工頻耐壓1min | kV | 30 | |||
| 反相耐壓1min | 30 | ||||||
| 相電壓5min | 9 | ||||||
| 5 | 額定電流 | A | 630 | 630 | 630 | ||
| 6 | 額定開斷負荷電流 (0.07Mpa / 20℃時) | A | 630 | 630 | 630 | ||
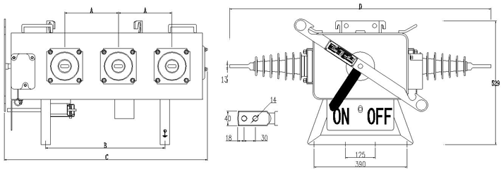
五、外形尺寸

| 外形尺寸(mm) | 安裝尺寸(mm) | 套管爬距(mm) | |||
| A | B | C | 長×寬 | ||
| 12Kv | 225 | 435 | 500 | 500×125(280) | 556 |
| 24kv | 300 | 435 | 500 | 500×125(280) | 840 |
| 40.5Kv | 350 | 435 | 500 | 700×125(280) | 1250 |
? 2017 上海巨廣電氣有限公司 ALL RIGHTS RESERVED.滬ICP備13029985號-1